以往的皮帶扣包括了機頭、可以咬緊諸如大傾角橡膠輸送帶產品的固定端,機頭和固定端通過一根轉軸連接,轉軸和輸送機機頭之間形成一個狹小縫隙,皮帶可以穿過,在該轉軸上端即與機頭底面最接近的部位設有牙齒,但需在機頭端部安設一個小金屬支腳,在轉軸處安裝牙齒的時間長了會損壞橡膠帶,對于安裝金屬支腳的還需要在膠帶上打孔,既費時,接頭質量也不高;

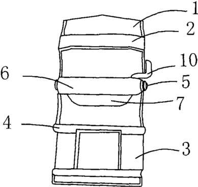
為了解決以上問題可以通過一種操作方便,不會損壞工業運輸帶的橡膠松緊型皮帶扣來實現,其結構主要包括機頭和后夾,其中機頭包括上表面和機頭下表面的兩側壁,后夾連接在機頭兩側壁的尾部,兩側壁中間設有一個由連接在側壁上的轉軸所組成的橡膠卡緊裝置,在轉軸的外側包裹有外殼,其依附著靠近機頭表面位置的橡膠墊,在外殼內的轉軸上套設著一根彈簧,其一端固定在轉軸上,另一端從轉軸開槽處伸出,扎在了橡膠墊內,在外殼上布置有可以限位的兩個小金屬條材質的卡端及一個卡撥頭,另外在機頭下面的兩側壁處呈波浪狀,轉軸可穿在其波峰處,小金屬條則卡在機頭側壁的位置;

具體操作原理:由于專業輸送帶廠家在側壁上設計有開槽孔,彈簧另一端從此處伸出并扎在橡膠墊內,轉軸設在波浪狀側壁的波峰處,小金屬條就可卡在波峰的一側,起到定位的作用,進而撥動卡撥頭,橡膠墊隨之抬起,這時可將耐高溫橡膠帶卡進去,由于外殼上面為半圓弧型,下面在開槽處向外伸出一個弧形的結構,采用這種結構一方面可保證橡膠墊靠近機頭表面的位置,另一方面半圓弧形結構可以完全掩蓋住下面的開槽以及所伸出的彈簧頭,只露出橡膠墊,非常美觀,在該種結構上都設有卡牙,橡膠墊上有多個卡槽,兩者通過卡槽和卡牙進行卡接,可使抗壓耐磨的橡膠墊緊緊依附在外殼上,并和彈簧牢固的連接不易脫落;

前面的金屬卡板、中間的橡膠卡緊裝置以及后面的轉軸都位于機頭波浪狀側壁的波峰處,使得金屬板和后夾處都能夠保證傳送皮帶的貫穿,由于橡膠墊靠近機頭的表面,因此能把皮帶通過橡膠墊自身的彈性卡緊,從頭部的金屬卡板伸進,卡在卡緊裝置處,再從后夾的轉軸和機頭表面之間伸出;
以上結構的可松緊系列皮帶扣,可取代使用鋼鐵片來與橡膠傳送帶內側梯階的落差相互頂住來進行定位的方法,同時也改變了在熱硫化膠帶上鉆孔定位的傳統方法,既環保、又節能,無需在膠帶的內側來加工出梯階狀,可以使得耐酸耐堿輸送帶等產品的帶體更加美觀、耐用、使用方便、徹底避免了被卡住的風險;
河北保定坤碩橡膠輸送帶廠家,更多實用型專業技術為您推薦:
《哪款托輥可有效防止皮帶運轉中的破損?》